Visually inspect the bearings for damage.
Replace any bearings with the following damage:
• Pitting
• Flaking
• Corrosion
• Lock tang damage
• Scratches (deep enough to be felt with a fingernail)
Refer to the Parts Reuse Guidelines, Bulletin No. 3810303, for further information.

NOTE: If large areas of copper lining are visible in the bearings before the engine has accumulated 241,000 kilometers
[150,000 miles] or 3,750 hours, inspect the engine for contamination from fine dirt particles; and correct the problem
to prevent further engine damage.
Normal bearing wear produces a smooth finish which will wear into the copper lining. Exposed copper does not
always indicate worn bearings.

Visually inspect the bearing seating surface for nicks or burrs.
If burrs can not be removed with a fine crocus cloth, the bearings must be replaced.
NOTE: For more detailed information of bearing damage, refer to Analysis and Prevention of Bearing Failures, Bulletin No. 3810387.

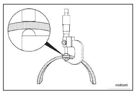
Measure the rod bearing shell thickness at the wear location with an outside micrometer that has a ball tip.

Discard a bearing shell if its thickness is below the minimum specification.

NOTE: Oversize bearing shells are available for crankshafts which are 0.25 [0.010-inch], 0.51 mm [0.020-inch], 0.76 mm [0.030-inch], or 1.02 mm [0.040-inch] undersize.
Bearing shells are identified by steel stamped characters on the back of the bearings to indicate either standard or
the amount of oversize.
