Home » Cummins N14 » Cummins N14 – Cylinder Head – Replacing the Valve Guides – Assembly

Cummins N14 – Cylinder Head – Replacing the Valve Guides – Assembly

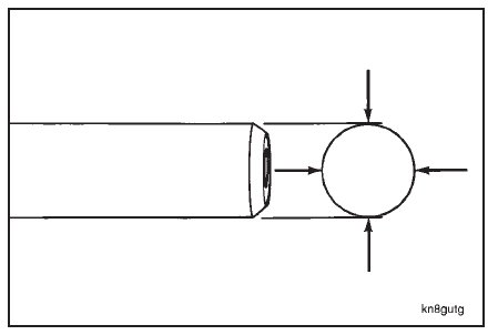
Measure the outside diameter of the new valve guides.

NOTE: Oversize valve guides have identification grooves on the outside diameter of the guide. The 0.25 mm [0.010-inch] oversize guide has one groove. The 0.38 mm [0.015-inch] oversize guide has two grooves.

Use valve guide driver (1), Part No. 3823909, and an arbor press to install the new valve guides.

Measure the new valve guide installed height above the cylinder head top deck surface.

Measure the new valve guide inside diameter.

NOTE: If the valve guide is not within the specifications given, the valve guide must be removed and a new valve
guide installed.