Inspect the filter head and shutoff valve for cracks, pitting, corrosion, or other damage. Replace if damage is
found.

Visually inspect the oil cooler support, housing, spacer plate, filter head, and support bracket for cracks or
damage.

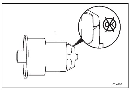
Visually inspect the oil cooler bypass valve for damage.
Any damage to the front face of the valve will allow oil to bypass the oil cooler.

Visually inspect the oil cooler core for cracks or damage.
Caution: Do not attempt to repair a damaged oil cooler core; it must be replaced.

Clean the lubricating oil filter bypass poppet valve spring, plunger and retaining plug.

Inspect the o-ring on the retaining plug for cuts or tears.
Replace the o-ring if damaged.

Inspect the teflon o-ring on the poppet valve for wear, cuts, or tears. Replace the complete poppet valve if there
is any damage.
