Use bushing mandrel, Part No. ST-1158, to push the new bushings into the oil pump body and cover.
NOTE: The bushings must be installed level with or no more than 0.51 mm [0.020-inch] below the surface of the oil pump body or cover.

Use lubricating oil pump boring tool, Part No. 3375206, to cut the bore in the new bushings in the oil pump body
and the cover.
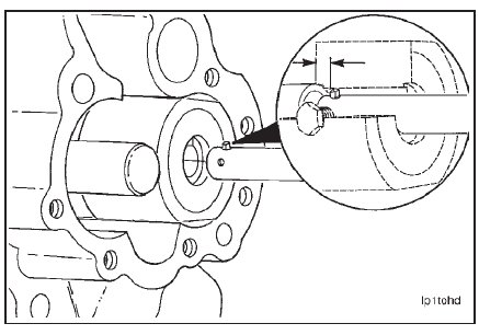
Install the guide bushing into the gear pocket.
Tighten the capscrew against the side of the gear pocket to hold the guide bushing in position.

Install the dial indicator into the setting block.
Install the setting block on the setting standard.
Adjust the dial indicator.
NOTE: The indicator tip must be set on the diameter size of the new bushing bore to be cut.


Install the tool bit into the boring bar.
NOTE: Do not completely tighten the set screw. Install the tool bit adjusting knob into the boring bar.
NOTE: Hold the setting block and the indicator against the boring bar so the indicator tip will be over the tool kit.

Turn the adjusting knob clockwise to push the tool bit against the indicator tip.
NOTE: Adjust the tool bit until the indicator is set to the same size as the setting standard.
Tighten the set screw and remove the adjusting knob.

Install the boring tool into the guide bushing.
NOTE: The tool bit must go through the slot in the guide bushing. Do not allow the tool bit to hit against the guide bushing.
Adjust the travel of the boring bar so the tool bit will go through the guide bushing but does not touch the bushing in the oil pump body.

Use capscrews to fasten the boring tool to the oil pump body.
Rotate the boring tool shaft to make sure it will turn freely.
NOTE: The pump and the boring tool must be in a vertical position. Make sure the boring tool can cut completely
through the bushings.

Move the feed control lever to the ‘‘ON’’ position.
NOTE: This will prevent the drive shaft from moving down.
Install the drive adapter into a heavy duty 3/8-inch drill motor, and engage the adapter with the drive shaft of the
boring tool.

Use a cutting oil, and cut the bore in both bushings in the oil pump body.
NOTE: Do not push down on the drill motor. The feed mechanism in the boring tool will move the boring bar.

Stop the drill motor, and move the feed control lever to the ‘‘OFF’’ position.
Pull up on the drive shaft to remove the tool bit from the bore.

Remove the boring tool from the oil pump body.
NOTE: The tool bit must move through the slot in the guide bushing. Do not allow the tool bit to hit against the guide
bushing.
Clean the metal particles from the oil pump body.

Install the cover on the oil pump body.
Install the boring tool to the pump body.
NOTE: Use the long capscrews and the nuts to fasten the tool to the oil pump body.

Install the boring bar through the guide bushing.
NOTE: The tool bit must go through the slot in the guide bushing. Do not allow the tool bit to hit against the guide
bushing.

With the feed control level in the ‘‘OFF’’ position, move the drive shaft down until the tool bit touches the bushing
in the cover.

Hold a new bushing and a 1.57 mm [0.062-inch] feeler gauge against the drive shaft at the top of the boring tool
body.
Move the stop collar down against the feeler gauge and tighten the set screw.

Move the feed lever to the ‘‘ON’’ position.
Remove the feeler gauge and the bushing.

Use a cutting oil to lubricate and cool the bit while cutting the bore in the bushing.
Stop the drill motor when the stop collar on the drive shaft is against the body of the boring tool.
Move the feed control lever to the ‘‘OFF’’ position.

Pull the drive shaft up to remove the tool bit from the bushing.
Remove the boring tool from the oil pump body.
NOTE: The tool bit must move through the slot in the guide bushing. Do not allow the tool bit to hit against the guide
bushing.

Remove the cover from the oil pump body.
Remove the guide bushing from the oil pump body.

Use solvent to clean the oil pump body and the cover. Dry with compressed air.
NOTE: All metal particles must be cleaned from the oil pump body and the cover.

Measure the inside diameter of the bushings in the oil pump body and the cover.

NOTE: Bushings that do not meet the specifications given must be replaced.
