Visually inspect the piston bowl, the pin bore, and the skirt for cracks or damage.
Use crack detection kit, Part No. 3375432, or equivalent to check for cracks on the top of the piston and in the
piston pin bore.
NOTE: Do not use pistons with dome cracks larger than one-half (1/2) the rim width or with cracks which extend over
the rim toward the ni-resist insert. Do not use pistons with dome cracks in the rim above the pin bore axis. Do not use
pistons with cracks in the piston pin bore. Do not use pistons with scuff marks, visually unacceptable scratches or cracks in the skirt. If pistons are unacceptable for reuse, do not use the mating piston pins. Cummins recommends replacing pistons and pins in sets.

Visually inspect the piston ring lands and ring grooves for wear. A worn groove will have a detectable step at the
back of the groove and a rolled edge at the surface of the piston or the ring groove outside diameter. Pistons ex-
hibiting this wear are not acceptable for reuse.
Refer to the Parts Reuse Guidelines, Bulletin No. 3810303.

Use piston ring groove wear gauges, Part No. 3823870, 3823869, and a 5-6 inch micrometer, to inspect the top
and second grooves (compression rings).
NOTE: The piston must be replaced if measured dimensions are less than those in the table below.
Measure each ring groove (diameter over pins) when the piston temperature is at 21°C [70°F] in two places 90
degrees apart as shown.


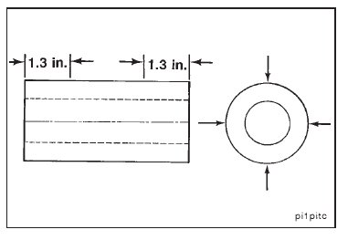
Measure the piston pin bore when the piston temperature is at 21°C [70°F] in two places 90 degrees apart.

NOTE: Add 0.013 mm [0.0005-inch] to the bore inside diameter per 5°C [10°F] temperature rise up to 32°C [90°F].

Visually inspect the piston pin for scratches, grooves, or other damage. Do not reuse if visually unacceptable.
Measure the piston pin outside diameter at both ends as shown in two places 90 degrees apart.

NOTE: Discard the piston pin if it is more than 0.03 mm [0.001-inch] out of round. If piston pin measurements exceed
those in the table, do not reuse. If the piston pin is unacceptable for reuse, do not use the matching piston. Cummins recommends replacing pistons and pins in sets.
