Use steam or solvent to clean the rocker lever shaft.
Dry with compressed air.

Visually inspect the shaft for cracks or damage.
Light fretting is typically found on the underside of the shaft and is not harmful, provided it meets the dimensional specifications.
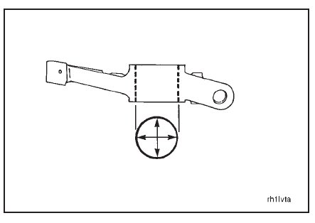
Measure the rocker lever shaft’s outside diameter in the bushing wear area.

Replace the rocker lever shafts as necessary.

Visually inspect to see that the expansion plug is in place.

Use steam or solvent to clean the rocker levers, and dry with compressed air.
NOTE: Make sure to blow out the oil passages.

Visually inspect the rocker levers for cracks or unusual wear. Inspect the adjusting screw threads for damage.

Measure the rocker lever bushing bore inside diameter.

NOTE: Replace the rocker lever bushings which are worn beyond the maximum limit. Refer to Rocker Lever Bushing
– Replacement (03-02).

Use steam or solvent to clean the rocker lever adjusting screw and nuts.
Dry with compressed air.

Visually inspect the adjusting screws and the nuts for distorted threads.

Visually inspect the adjusting screw. The contact area must be smooth with an even seating pattern.
If parallel scratches are found in the contact area, the adjusting screw must be replaced. This condition is nor-
mally found with worn push rods that will also require replacement.
