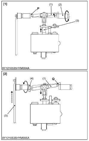
1. When the position control lever is moved to the LIFT position, the control arm (2) rotates to the arrow.
Therefore, the spool drive lever (1) moves around the fulcrum P and pull the spool (3) opening the LIFT circuit.
2. When the lift arm moves upward, the feedback lever shaft (4) is rotated to the arrow, since the feedback rod (5) is actuated. Therefore, the spool drive lever (1) moves around the fulcrum Q and pushes the spool (3).
3. The lift arm stops when the spool returns to the neutral position.

