
1. Remove the oil pump gear cover bolts.
2. Remove the oil pump gear cover.

limit is 0.221 mm (0.0087 in).
4. Replace the oil pump assembly if the clearance exceeds the service limit.

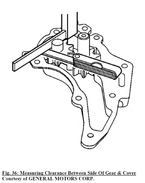
5. Use a feeler gauge and a straightedge to measure the clearance between the side o f the gear and the cover. The production clearance is 0.064-0.109 mm (0.0025-0.0043 in) and the service limit is 0.109 mm (0.0043 in).
6. Replace the oil pump assembly if the clearance exceeds the service limit.

7. Calculate the driven gear shaft to bushing clearance.
1. Measure the driven gear shaft outside diameter. The production specification is 19.947-19.960 mm (0.7853 -0.7858 in) and the service limit is 19.86 mm (0.7819 in).
2. Measure the driven gear bushing inside diameter. The production value is 20 mm (0.7874 in).
3. Calculate the driven gear shaft to bushing clearance. The service limit is 0.14 mm (0.0055 in)
8. Replace the oil pump assembly if the clearance exceeds the service limit.

9. Install the oil pump gear cover to the oil pump assembly.
NOTE: Refer to Fastener Notice.
10. Install the oil pump gear cover bolts.
Tighten: Tighten the oil pump gear cover bolts to 21 N.m (15 lb ft).