Visually inspect the bearings for damage.
Replace any bearings with the following damage:
• Pitting
• Flaking
• Corrosion
• Lock notch damage
• Scratches (deep enough to be felt with a fingernail)
Refer to the Parts Reuse Guidelines, Bulletin No. 3810303,
for additional information.

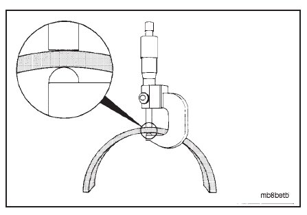
Use an outside diameter ball tipped micrometer to measure the main bearing shell thickness at the wear location.

Discard a main bearing shell if its thickness is below the minimum specification.
NOTE: For more detailed information of bearing damage, refer to Analysis and Prevention of Bearing Failures, Bulletin No. 3810387.

NOTE: Oversize bearing shells are available for crankshafts which are 0.25 mm [0.010-inch], 0.51 mm [0.020-inch], 0.76 mm [0.030-inch], or 1.02 mm [0.040-inch] undersize.
Bearing shells are identified by steel stamped characters on the back of the bearings to indicate either standard or
the amount of oversize.
