Visually inspect for pitting or erosion in the crevice seal groove.
Replace the liner if pitting or erosion is greater than one-half the width of the crevice seal groove.

Visually inspect the outside diameter for excessive corrosion or pitting. Pits must not be more than 1.60 mm
[0.063-inch] deep.
Replace the liner if the pits are too deep or if the corrosion can not be removed with a fine emery cloth.

Liners which have light pitting or erosion can be used again, but they must be installed with the pitting or ero-
sion positioned in line with the crankshaft.

Visually inspect for cracks on the inside and the outside of the liner.
Replace the liner if cracks are found.

Inspect for cracks under the flange.
NOTE: Cracks can also be detected by using either magnetic inspection or the dye method.
Replace the liner if cracks are found in the flange area.

Visually inspect the exterior of the liners. The presence of any coating can indicate an inadequate concentration
level of supplemental coolant additives (SCA). The proper concentration level of SCA will protect against the for-
mation of scale or oil coatings. SCA’s form a very hard film on the coolant side of the liner which resists damage
from the implosion of air bubbles.The microscopic protective coating of ferrous oxide is invisible and will not be
seen by the naked eye.

Inspect the inside diameters for vertical scratches deep enough to be felt with a fingernail.
NOTE: If a fingernail catches in the scratch, the liner must be replaced.
Visually inspect the inside diameter for scuffing or scoring.
Replace the liner(s) if excessive scuffing or scoring is present. Refer to Parts Reuse Guidelines, Bulletin No.
3810303, for further information.

Visually inspect the inside diameter for liner bore polishing.
A moderate polish produces a bright mirror finish in the worn area with traces of the original hone marks or an
indication of an etch pattern.
A heavy polish produces a bright mirror finish in the worn area with no traces of hone marks or an etch pattern.

Replace the liner if:
1. a heavy polish is present over 20 percent of the piston ring travel area.
2. thirty percent (30%) of the piston ring travel area has both moderate and heavy polish, and one-half (15
percent) is heavy polish.
Refer to Parts Reuse Guidelines, Bulletin No. 3810303, for further information.

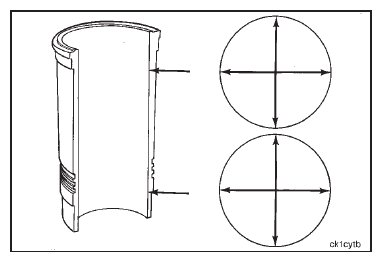
Use a dial bore gauge to measure the liner inside diameter in four places 90 degrees apart at the top and the
bottom of the piston travel area.

Replace the liner if measured dimensions exceed limits given above in the table.

Measure the liner flange outside diameter.


Measure the lower press fit area.



