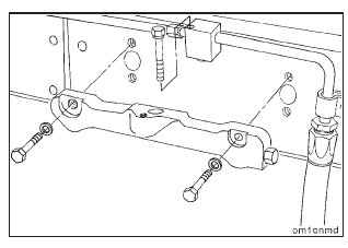
Disconnect the external oil manifold supply line from the rear of the external oil manifold.
Plug the supply line to avoid dirt contamination.
Caution: Hold the oil manifold fitting hex with a backup wrench while removing the supply line to avoid damaging the manifold.

Remove the three external oil manifold hold down capscrews.
Remove the three mounting clips, capscrews, and spacers.
Remove the external oil manifold from the connector.

Remove the two oil manifold connector mounting capscrews.
Remove the oil manifold connector from the rocker lever housing.
NOTE: Use a wide, flat pry bar to pry at the center of the oil manifold connector. Remove the connector evenly from both pass through ports simultaneously to prevent damage to the connector or the rocker lever housing.
NOTE: If necessary, remove the intake air tube and elbow from the intake prior to removing the oil manifold connector.
Repeat this procedure for each rocker housing.

Remove the following hoses from the STC oil control
valve and the engine:
1. Fuel Rail Pressure Signal Hose
2. Oil Supply Hose to Tappets
3. Crankcase Vent Hose
4. Oil Supply Hose from Oil Rifle

Remove the clamp, check valve, and oil supply hose from the engine.
