sensor.
Install the two bracket capscrews and tighten.
Torque Value: 27 N•m [20 ft-lb]
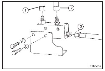
Connect the flexible hoses to the viscosity sensor fittings.
Torque Value:
1. 11 N•m [95 in-lb]
2. 20 N•m [15 ft-lb]
3. 27 N•m [20 ft-lb]
NOTE: Do not allow dirt or debris to enter the oil lines.

Install the entire assembly with flex hoses attached to the cylinder block pan rail.
Install the two capscrews and tighten.
Torque Value: 68 N•m [50 ft-lb]

Connect the sensor drain line (1) to the tee fitting on the cylinder block.
Torque Value: 27 N•m [20 ft-lb]

Connect the pressure signal line (1) to the lubricating pump fitting (2) and the rifle pressure supply line (3) to the
oil rifle fitting (4).
Torque Values:
1. 10 N•m [89 in-lb]
3. 10 N•m [89 in-lb]
