Home » KUBOTA » L2501 » KUBOTA – L2501 – HYDRAULIC SYSTEM – THREE POINT HITCH HYDRAULIC SYSTEM – SAFETY VALVE

KUBOTA – L2501 – HYDRAULIC SYSTEM – THREE POINT HITCH HYDRAULIC SYSTEM – SAFETY VALVE

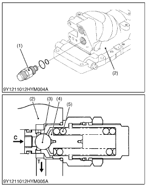
The cylinder safety valve (1) is equipped on the hydraulic cylinder assembly (2).
This model uses a direct acting safety valve which is suitable for less frequent operation.
This valve operates to prevent damage to three point hydraulic system components only in case shock pressure is caused. For example, bouncing of heavy implements.
If pressure in the hydraulic cylinder (2) becomes too large, oil pressure pushes ball (3), valve seat (4) and
compress the spring (5). The oil in the hydraulic cylinder flows to transmission case through the T port.