Home » Cummins N14 » Cummins N14 – Connecting Rods – Bend and Twist Inspection – Alignment

Cummins N14 – Connecting Rods – Bend and Twist Inspection – Alignment

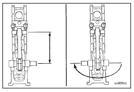
Install the mandrel and the arbor into the connecting rod to be inspected.
Install the connecting rod into the fixture.

Measure the rod length and bend (alignment).