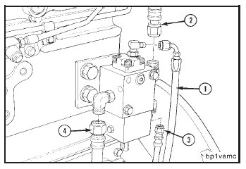
Connect the following lines to the STC oil control valve and tighten them to the specified torque:
1. Fuel pressure sensing line – 9.5 N•m [84 in-lb]
2. Oil outlet line to tappets – 13.6 N•m [120 in-lb]
3. Oil vent line – 9.5 N•m [84 in-lb]
4. Oil supply line – 13.6 N•m [120 in-lb]

Install the check valve retaining clamp and check valve on the cam follower stud.
Torque Value: 47 N•m [35 ft-lb]
The check valve must be installed so the stamped arrow points in the direction of oil flow (from the oil rifle to the
STC valve).

Install the external oil manifold using new o-rings. Lubricate the o-rings and the manifold connector bores with
vegetable oil.
Install the external oil manifold hold down capscrews.
Tighten the capscrews.
Torque Value: 12 N•m [105 in-lb]
Install the manifold clips, capscrews, and spacers. Tighten the capscrews.
Torque Value: 41 N•m [30 ft-lb]
Install the intake air tube and elbow if removed.
Torque Value: 34 N•m [25 ft-lb]

Remove the plug from the supply line and connect the supply line to the external oil manifold.
Caution: Hold the oil manifold fitting hex with a backup wrench while installing the supply line to avoid damaging
the manifold.
