(When removing)
1. Press out the used crankshaft bearing 1 (2) using a crankshaft bearing 1 replacing tool.
(When installing)
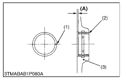
1. Clean a new crankshaft bearing 1 (2) and crankshaft journal bore, and apply engine oil to them.
2. Using a crankshaft bearing 1 replacing tool, press in a new bearing 1 (2) so that its seam (1) directs toward the exhaust manifold side.

